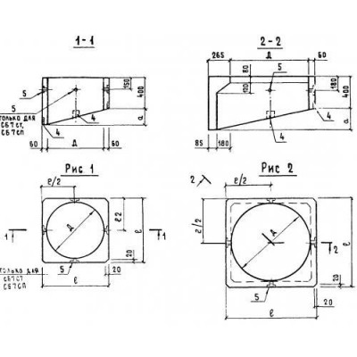
Размеры:
- Длинна: 820 мм.
- Ширина: 820 мм.
- Высота: 605 мм.
- Вес: 350 кг.
- ГОСТ, Серия: Серия 1.865.1-4/84 скачать
- Объем бетона: 0,12 м3
- Геометрический объем: 0,4068 м3
- Цена: договорная
Стандарт изготовления изделия: Серия 1.865.1-4/84
Стакан железобетонный СБ 7 ст строительный материал, который выполняется из сборного железобетона. По форме представляет вытянутый прямоугольник с округленными гранями, внутри полость. Данное изделие предназначено для установки вентиляционного приспособления в зданиях, с высотой шахт не более 3,5 метра. В Серии 1.865.1-4/84 разработаны стаканы с внутренним диаметром 400, 700 и 1000 мм. Применение таких конструктивных элементов допускается как в неагрессивных, так и агрессивных газовых средах. Железобетонный стакан устанавливается на железобетонные плиты покрытий со специально предусмотренными отверстиями. Такие изделия используются в зданиях с кровлей из асбестоцементных волнистых листов с уклоном 25%. Для монтажа стаканов, на их поверхности предусмотрены закладные детали. Для крепления фартуков из оцинкованной стали к боковой поверхности стакана предусмотрены деревянные пробки. Согласно, рабочих чертежей предусмотрено два способа монтирования вентиляционных устройств:
1. с помощью болтов и гаек (является основным);
2. при помощи сварки по контуру отверстий опорного кольца трубы с закладными деталями.
Расшифровка маркировки
Стакан можно обозначить комбинацией в виде цифр и букв. Структура условного обозначения принимается по ГОСТ 23009-78. Маркировка стакана бетонного СБ 7 ст расшифровывается:
1. СБ буквенное обозначение стакана;
2. 7 диаметр отверстия, выражен в дм.;
3. с уклон нижней грани стакана 25%;
4. т для производства использован тяжелый бетон.
Маркировочные обозначения следует наносить на каждое изделие несмываемой краской при помощи специальных трафаретов.
Материалы и производство
Для производства используют тяжелый бетон. При применении стаканов в районах с агрессивными газовыми средами, требования по защите бетонной поверхности от газовых воздействий принимаются такие же, как и для плит покрытия на которые устанавливаются стаканы. Закладные изделия выполняются из стали марки Вст3 кп2-1 по ТУ 14-1-3023-80. Марка арматурной стали назначается исходя из климатических условий, где планируется строительство согласно СНиП II-28-75. Арматурные каркасы свариваются при помощи контактной точной сварки. Свариванию подлежат все точки пересечения стальных стержней. Все открытые поверхности закладных обрабатываются против коррозии. Конкретные указания по антикоррозийной обработке указываются в проекте здания.
В процессе производства особое внимание обращается на точность фиксации в опалубке болтов, при помощи которых в дальнейшем происходит крепление устройств для вентиляции. Диаметр окружности, по которой центрируются болты, должен быть больше на 70 мм. диаметра отверстия самого элемента. Стаканы должны входить в состав партии плит с отверстиями. Так же обязательна проверка отделом технического контроля, по итогам которой выдается технический паспорт. Изделия, не прошедшие контроль отправляются на ремонт.
Транспортирование и хранение
Складирование отпущенных стаканов осуществляется на подготовленных для этого площадках, которые должны иметь уклон для отвода влаги. При складировании и перевозке между изделиями прокладываются специальные деревянные подкладки. Транспортирование можно осуществлять как автомобильным, так и железнодорожным транспортом. Погрузку, разгрузку, монтаж осуществляют посредством захвата за специально предназначенные для этого петли. При всех манипуляциях необходимо соблюдать правила безопасности, которые предусматривают нормативные документы. Следует исключить действия, которые могли бы привести к разрушению целостности продукции.
Стаканы бетонные СБ 7 ст отзывы


