Размеры:
- Длинна: 780 мм.
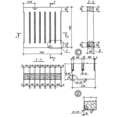
- Ширина: 740 мм.
- Высота: 120 мм.
- Вес: 153 кг.
- ГОСТ, Серия: Шифр В 019 скачать
- Объем бетона: 0,06 м3
- Геометрический объем: 0,0693 м3
- Цена: договорная
Стандарт изготовления изделия: Шифр В 019
Плиты ПР 74-78-12 (Шифр В 019) - унифицированные железобетонные изделия. По внешнему виду конструкции представляют собой прямоугольник. Согласно нормативному документу Шифр В 019, запроектированы конструкции сплошные, с одним отверстием и несколькими прямоугольными отверстиями, придающими изделию решетчатую форму.
Применяются индустриальные плиты при обустройстве вентиляционных каналов в овощных и картофельных хранилищах. Они укладываются в воздухораспределительных унифицированных подпольных каналах, в системах активной вентиляции, которые в свою очередь строятся из лотковых элементов Серии 3.006.1-2.87. Элементы отличаются легкостью использования и быстротой монтажа, а также продолжительным эксплуатационным сроком. Конструкции рассчитаны на воздействия до 5 тонн от колеса груженого транспорта. При расчете элементов учитывались требования СНиП 2.01.07-85, и СНиП 2.03.01-84 изделия относится к третьей категории по трещиностойкости. Плиты соответствуют требованиям ТУ 10.13.807-476-89, отвечающего за материалы, допускаемые к перекрытию вентиляционных каналов.
Маркировочное обозначение
На боковой грани изделий наносится маркировочные знаки, предназначенные для удобства классификации конструкций по ключевым характеристикам. Совокупность символов ПР 74-78-12 (Шифр В 019) имеет следующую расшифровку:
1. ПР - плита решётчатая (ПО - плита с одним отверстием; ПС - плита сплошная);
2. 74 - ширина (дм);
3. 78 - длина (дм);
4. 12 - толщина (см).
При присутствии буквенного индекса «а» в конце маркировочных знаков подразумевается наличие металлической решетки в комплекте с плитой.
Особенности производства
Подробный процесс производства и требования к материалам для плит ПР 74-78-12 (Шифр В 019) прописаны в нормативном документе Шифр В 019. По условиям регламента необходимо использовать для производства конструкций тяжелый бетон повышенной плотности класса по прочности на сжатие не ниже В25. Водонепроницаемость изделий должна составлять W6 ввиду необходимости бетона препятствовать вредоносному воздействию среднеагрессивной газовой среды. Величина крупного заполнителя не должна превышать 20 мм.
Для армирования рекомендуется использовать сталь класса AIII по ГОСТ 5781-82 и проволоку класса Вр-1 по ГОСТ 6727-80. Каркасы следует производить с использованием контактно-точечной сварки в местах пересечения, удовлетворяющий требованиям ГОСТ 10922-92 и ГОСТ 14098-85. Важно обеспечить проектную величину защитного бетонного слоя в размере 20 мм до поверхности рабочей арматуры с целью сохранения продолжительного эксплуатационного срока. Монтажные детали необходимо изготавливать из горячекатаной стали класса AI марок Ст3сп2 или Ст3пс2. Контроль качества готовой продукции производиться на основании ГОСТ 13015.0-83. Испытания рекомендуется подбирать методами, прописанными в ГОСТ 8829-85. Не допускается наличие дефектов на поверхностях конструкций, присутствие оголенного армирования и жировых пятен.
Транспортировка и хранение
Складирование и перевозка плит ПР 74-78-12 (Шифр В 019) должны осуществляться в рабочем положении с обязательным опиранием на инвентарные деревянные подкладки. Укладку необходимо производить в штабеля, высотой обеспечивающей безопасность, в соответствии со СНиП III-4-80. Подкладочный материал необходимо располагать в местах опорных зон исключительно друг над другом по вертикали, нижнему ряду необходимо обеспечить плотное основание и надежную опору. Важно гарантировать защиту железобетонных конструкций от возникновения любых механических повреждений.
Плиты ПР 74-78-12 (Шифр В 019) отзывы


