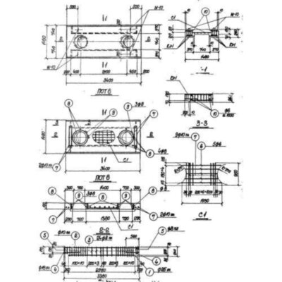
Размеры:
- Длинна: 3400 мм.
- Ширина: 1480 мм.
- Высота: 260 мм.
- Вес: 2600 кг.
- Объем бетона: 1,2 м3
- Геометрический объем: 1,3083 м3
- Цена: договорная
Плиты перекрытия ПОТ 8 а (1 отв.) относится к ряду высокопрочных строительных материалов. По внешнему виду конструкции представлены в виде прямоугольных панелей, имеющих на торцевых гранях один или два углубления, предназначенных для комфортного сопряжения с лотковыми элементами. Дополнительно на теле изделий может быть одно или несколько отверстий диаметром 700 мм, предназначенных для установки люков.
Применяются унифицированные плиты перекрытия при строительстве железобетонных сборных каналов. Они используются в составе перекрывающих элементов при сооружении канала под трубопроводы и другие коммуникации, предохраняя их от попадания посторонних предметов и грунта. При расчете и проектировании изделий учитывались требования СНиП 2-В.1-62 и СН 1-61.
Маркировочные обозначения
Быстро найти нужные строительные материалы на складских территориях позволяет наличие специальных символов, наносимых на поверхность конструкций. Совокупность знаков ПОТ 8 а (1 отв.) имеет следующую расшифровку:
1. ПОТ - тип конструкции - плита перекрытия с отверстием;
2. 8 - порядковый номер типоразмера изделия.
Запрещено вносить произвольные изменения в маркировочные знаки. Дополнительно на теле конструкции может прописываться дата производства, масса и штамп отдела технического контроля.
Особенности производства
С подробным процессом изготовления плиты перекрытия ПОТ 8 а (1 отв.) можно ознакомиться в Серии ИС 01-05. По условиям регламента производственный процесс должен осуществляться в стальных опалубочных формах. Это позволяет достичь высокого качества готовой продукции и гарантировать соблюдение геометрических пропорций, представленных на рабочих чертежах. Главным материалом выступает тяжелый бетон марки М300 по прочности на сжатие. Водонепроницаемость и морозостойкость подбираются индивидуально исходя из климатических условий региона строительства. Армируются конструкции сварными сетками и отдельными стержнями, собираемыми в кольца. Они устанавливаются на специальные фиксаторы в форме до заливки бетонной смеси. Кольца необходимы для упрочнения мест отверстий. Для создания сеток применяется сталь классов AI, AII и AIII, соответствующая требованиям ГОСТ 5781-61. Монтажные петли производятся из стали класса AI марки ВСт3 и ВКСт3, закладные детали необходимо изготавливать из стали марки Ст3 по ГОСТ 380-63. Величина защитного бетонного слоя должна составлять проектные значения, прописана на рабочих чертежах, для обеспечения противокоррозионной защиты и продолжительного эксплуатационного срока службы конструкций. Перед поставкой заказчику изделия проходят ряд приемосдаточных испытаний методами, прописанными ГОСТ 8829-58. Все результаты отражаются в сертификатах, поставляемых заказчику с партией готовой продукции.
Транспортировка и хранение
Складирование и транспортировка плит перекрытия ПОТ 8 а (1 отв.) с отверстиями должны осуществляться с соблюдением правил и норм по технике безопасности, а также с учетом требований и рекомендаций Серии ИС 01-05. Укладка должна производиться в горизонтальные штабеля с использованием инвентарных подкладочных материалов. Важно беречь конструкции от возникновения любых механических повреждений, поэтому их необходимо надежно фиксировать в кузове транспортного средства до начала движения. Для осушения погрузочно-разгрузочных работ следует использовать специальную технику, оснащенную захватными механизмами. Запрещён сброс, навал и перемещение изделий волком. Все некондиционные элементы должны отбраковываться и складироваться отдельно.
Плиты перекрытий ПОТ 8 а (1 отв.) отзывы


