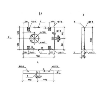
Размеры:
- Длинна: 1580 мм.
- Ширина: 1180 мм.
- Высота: 140 мм.
- Вес: 582 кг.
- ГОСТ, Серия: Альбом РМ 2283 скачать
- Объем бетона: 0,233 м3
- Геометрический объем: 0,261 м3
- Цена: договорная
Стандарт изготовления изделия: Альбом РМ 2283
Плиты перекрытия блоков мусороудаления ЛП 1216-1 (Альбом РМ 2283) представляют собой узкоспециализированные строительные материалы. Изделия имеют прямоугольную форму и оснащены круглым отверстием диаметром 500мм, расположенным недалеко от центра. Дополнительно на теле конструкций присутствует трапециевидное углубление для размещения строповочных петель, необходимых для погрузочно-разгрузочных работ и упрощения монтажа. Также конструкция оснащена закладными деталями, обеспечивающими надежную фиксацию со смежными элементами.
Применяются унифицированные плиты перекрытия при строительстве многоэтажных жилых домов высотой 5-9 этажей, а также блок-секций. Конструкции выступают в качестве перекрытия блоков мусороудаления. Через имеющееся отверстие пропускается труба, необходимая для сбора мусора по этажам при обустройстве мусоропровода. При разработке и проектировании конструкций учитывались требования и рекомендации действующих нормативно правовых стандартов.
Маркировочное обозначение
Найти необходимые строительные конструкции на складских территориях позволяет наличие специальных шифров, наносимых масляной краской, устойчивой к вредоносному воздействию атмосферных осадков. Совокупность символов ЛП 1216-1 (Альбом РМ 2283) имеет следующую расшифровку:
1. ЛП - тип конструкции - плита перекрытия блоков мусороудаления;
2. 12 - ширина (дм);
3. 16 - длина (дм);
4. 1 - дополнительные конструкционные особенности.
Запрещено вносить произвольные корректировки в маркировки, так как это может негативно отразиться при выборе строительных материалов. Дополнительно следует отражать массу, дату производства и штамп отдела технического контроля.
Особенности производства
Всю подробную информацию об изготовлении плит перекрытия блоков мусороудаления ЛП 1216-1 (Альбом РМ 2283) можно узнать из Альбома РМ 2283. По условиям регламента для изготовления конструкций следует использовать стальные опалубочные формы, гарантирующие соблюдение точных геометрических пропорций, представленных на рабочих чертежах нормативно правовой документации. Главным материалом выступает тяжелый бетон, имеющий марку по прочности на сжатие не ниже М200 со средней плотностью 2400 кг/м3. Физико-химические свойства бетона, такие как водонепроницаемость и морозостойкость, подбираются исходя из климатических особенностей в регионе строительства.
Для армирования конструкций используются сварные каркасы и сетки, собираемые с помощью контактной точечной сварки в местах пересечения стержней. Класс и марку стали можно посмотреть в спецификациях, предоставляемых под каждой конкретной Типовой проект индивидуально. Для изготовления закладных деталей и строповочных петель используется сталь класса AI, в качестве анкеров и для петель, а также полосовой прокат. Для продолжительного эксплуатационного срока службы конструкций важно обеспечивать проектную величину защитного бетонного слоя до поверхности армирования. Также следует покрывать все металлические составляющие специальными противокоррозионными составами.
Перед поставкой потребителю конструкции направляется на приемосдаточные испытания, результаты которых фиксируются в сертификатах, предоставляемых заказчику с партией готовой продукции. Не допускается наличие сколов, ржавчины, трещин, наплывов и раковин. Все некондиционные элементы отбраковываются и складируются отдельно.
Транспортировка и хранение
Складирование и транспортировка плит перекрытия блоков мусороудаления ЛП 1216-1 (Альбом РМ 2283) должны осуществляться с соблюдением правил по технике безопасности. Укладка рекомендуется в горизонтальные штабеля с обязательным использованием деревянных инвентарных подкладочных материалов, размещаемых в местах, прописанных на рабочих чертежах. Важно беречь конструкции от возникновения любых механических повреждений. Для погрузочно-разгрузочных работ следует использовать специализированную технику, оборудованную захватными механизмами, гарантирующими и равномерное распределение нагрузки в стропах.
Плиты перекрытий ЛП 1216-1 (Альбом РМ 2283) отзывы


