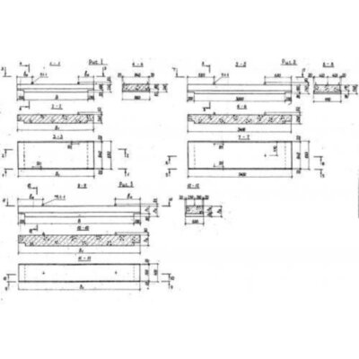
Размеры:
- Длинна: 4600 мм.
- Ширина: 600 мм.
- Высота: 300 мм.
- Вес: 1950 кг.
- ГОСТ, Серия: Альбом РК 1101-87 скачать
- Объем бетона: 0,78 м3
- Геометрический объем: 0,828 м3
- Цена: договорная
Стандарт изготовления изделия: Альбом РК 1101-87
Плиты перекрытия КП 42 д - это один из множества видов железобетонных изделий, внешне - прямоугольный блок, с расположенным по центру отверстием, которое, впоследствии, будет закрываться канализационным люком. Плита изготавливается в соответствии с требованиями ГОСТ из бетона высокой марки, имеет внутреннее армирование и отличается высокими показателями прочности и водостойкости, что обеспечивает ей огромный срок эксплуатации.
Ещё один плюс в копилку данного ЖБИ - практичность и легкость в монтаже, что существенно упрощает весь процесс, особенно, если строительство приходится вести в ограниченные сроки.
1. Варианты маркировки
Обозначение подобного рода изделий производится не просто так. Этот процесс значительно упрощает работу с изделием: например, облегчает выбор для заказа в каталоге. Глядя на незамысловатую комбинацию из пары букв, дефиса и цифр, человек понимает, что ему предлагают купить. Существует большое количество разнообразных вариаций маркировки плит перекрытия КП 42 д Альбом РК 1101- 87.
1. КП 42;
2. КП 42 д;
3. КП 42 у.
Документ, в котором можно найти основные требования к изделиям, а также их схемы и точные размеры - ТУ 5858-010-05108908-03 (изменение 1), ТУ 400-1-250-89 или же Альбом РК 1101 - 87.
2. Основная сфера применения
Коллекторная система состоит из множества блоков и для того, чтобы вся система была прочной и надежной, каждая плита должна иметь высокие показатели той же прочности. Плита перекрытия коллекторная КП 42 д выполняет по большей части защитную функцию, предотвращая несчастные случаи (падение в открытый коллектор людей и животных), защищает камеры коллектора от чрезмерного давления грунта, попадания внутрь крупных посторонних предметов, которые могут становится причиной засора. Благодаря этой плите упрощается процесс обустройства дополнительных входов в коллектор и создание переходных тоннелей. Плита КП 42 д используется в системах водоотведения и канализирования, при устройстве коллекторов для кабельных систем, а также в системах теплоснабжения.
3. Обозначение маркировки изделия
Чаще всего, когда производится маркировка, в буквенной части шифра скрывается название изделия (коллекторные плиты, например), а цифры, стоящие после буквенных знаков, означают размер той или иной части плиты. Маркировка плиты расшифровывается следующим образом:
1. КП – коллекторная плита перекрытия,
2. 42 – это значение внутренней ширины коллектора, для которого предназначена данная плита,
3. д - доборный элемент (у - усиленный).
Размеры таких плит следующие:
Длина = 4600;
Ширина = 600;
Высота = 300;
Вес = 1950;
Объем бетона = 0,78;
Геометрический объем = 0,828.
4. Изготовление и основные характеристики
При изготовлении плит перекрытия коллектора КП 42 д используется тяжелый бетон (ГОСТ 251 92-82), с маркой по морозостойкости F 75. В качестве материала для армирования плит, используется горячекатанная арматурная сталь Ас-П, а для закладных элементов допустимо использование углеродистой стали ГОСТ 380-71. Непосредственно армирование плит проводится сварными сетками, которые предварительно объединены в пространственные каркасы.
Для этого может использоваться сварка, но допускается и соединение элементов при помощи вязальной проволоки. В готовом изделии не допускается наличие трещин (исключение составляют трещины усадочные, не более 0,1 мм по ширине), а также участков с обнаженной арматурой. После изготовления, осуществляется визуальная и инструментальная проверка плит на предмет соответствия требуемым геометрическим параметрам, а отпускная прочность бетона проверяется в лабораторных условиях.
5. Транспортировка и хранение
Этот процесс не уступает по важности предыдущему, ведь положительный исход перевозки - залог успешного сохранения материалов! Прежде чем начинать погрузку и перевозку плит, стоит провести краткий инструктаж со всеми людьми, участвующими в этой операции. Немаловажным является наличие у автомобиля, перевозящего товар, специализированных креплений для перевозок особо тяжелых грузов, поэтому на эти моменты внимание стоит обращать в первую очередь. После того, как перевозка завершилась, стоит позаботиться о месте хранения. Ни в коем случае нельзя дать ЖБИ возможность контактировать с открытым грунтом, ведь из-за этого изделие со временем может поддаться коррозии и не будет пригодным к эксплуатации. Существуют специальные поддоны для больших грузов, сохраняющие ЖБИ на долгое время в целости и сохранности, оберегая от всяческого рода внешних воздействий, которые могут причинить вред изделию.
Плиты перекрытий КП 42 д отзывы


