Размеры:
- Длинна: 5370 мм.
- Ширина: 590 мм.
- Высота: 300 мм.
- Вес: 790 кг.
- ГОСТ, Серия: Серия 1.165-9 скачать
- Объем бетона: 1,06 м3
- Геометрический объем: 0,9505 м3
- Цена: договорная
Стандарт изготовления изделия: Серия 1.165-9
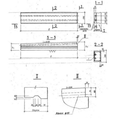
Панель покрытия ПНВ 54-6-30-3 я - это прямоугольное изделие, созданное путем сочетания ячеистого бетона и прочной стальной арматуры. Особенностью конструкции является ее переменная толщина, благодаря которой удобно создавать уклон кровли при строительстве зданий и сооружений. Также внутри панели имеются круглые пустоты, проходящие вдоль тела всего изделия и располагающиеся с равным друг от друга интервалом, с помощью таких пустот обеспечивается вентилирование. Регламент изготовления ПНВ 54-6-30-3 я рекомендует применение панелей покрытий при строительстве совмещенных кровель жилых и общественных зданий, а благодаря разной толщине изделий в таких крышах удается создать уклон 2%.
Расшифровка маркировки
Разнообразие изделий для перекрытия зданий и сооружений обуславливает наличие у каждой железобетонной конструкции марки, отражающей ее линейные размеры и технические показатели. Так если рассматривать расшифровку ПНВ 54-6-30-3 я, то можно узнать следующую информацию:
1. ПНВ - плита наклонная вентилируемая;
2. 54 - длина в дм;
3. 6 - ширина в дм;
4. 30 - толщина в см;
5. 3 - нагрузка;
6. я - ячеистый бетон.
Марка проставляется на торце готового элемента краской темного цвета, дополнительно там могут указываться серия, дата выпуска, вес, товарный символ предприятия-изготовителя, а также штамп ОТК.
Материалы и производство
Необходимая для изготовления панелей перекрытия информация содержится в Серии 1.165-9, также в ней приложены чертежи и спецификации, задающие нужные геометрические параметры и необходимые материалы. Технологический процесс складывается из нескольких последовательно выполняемых операций, каждая из которых сопровождается пооперационным контролем. В качестве основного материала для ПНВ 54-6-30-3 я используется автоклавный ячеистый бетон объёмным весом в сухом состоянии 600 кгс/м3 проектной марки по прочности 25. Марка ячеистобетонных панелей по морозостойкости должна быть не менее F75.
Армирование будущего строительного элемента является неотъемлемой частью производственного процесса, так как монолит укрепленный арматурой способен воспринимать на себя значительные нагрузки. Армирование панели покрытия представлено пространственным каркасом, который в свою очередь собирается из плоских каркасов и сеток с применением контактно-точечной сварки. Используемый материл для создания стального внутреннего скелета - арматура классов А-I, А-II, А-III и проволока класса В-I. Для продления срока службы и усиления надежности пространственный каркас защищается от коррозии цементно-полистирольной или цементно-битумной холодной мастикой.
Готовые панели в обязательном порядке проходят контрольные испытания, к одним из которых относятся испытания на оценку прочности, жесткости и терщиностойкости ПНВ 54-6-30-3 я на основании ГОСТ 8829-77 и ГОСТ 12852.6-77.
Хранение и транспортировка
Складские мероприятия осуществляются в заранее спланированном помещении. На складе панели должны формироваться в штабель, при этом конструкции предварительно сортируются по маркам. Высота штабеля - не более двух метров. Также важно использование деревянных прокладок их сухой древесины, которые представляют прослойку между железобетонными элементами. ПНВ 54-6-30-3 я запроектированы без монтажных петель, поэтому подъем необходимо производить механизмами, оборудованными захватами. Перевозка конструкций может осуществляться специализированным транспортом, обладающим необходимой грузоподъемностью.
Панели покрытий ПНВ 54-6-30-3 я отзывы


