Размеры:
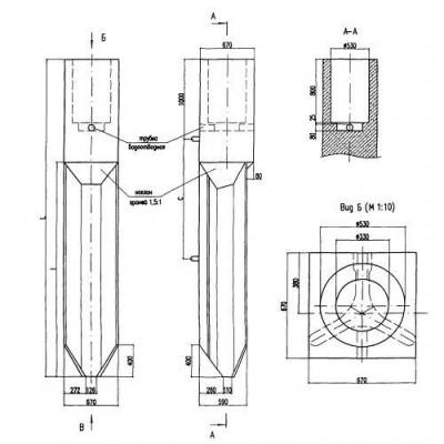
- Длинна: 5000 мм.
- Ширина: 670 мм.
- Высота: 670 мм.
- Вес: 2050 кг.
- ГОСТ, Серия: Рабочие чертежи 4182и скачать
- Объем бетона: 0,82 м3
- Геометрический объем: 2,2445 м3
- Цена: договорная
Стандарт изготовления изделия: Рабочие чертежи 4182и
Фундаменты трехлучевые стаканные ТСС 5,0-2 в качестве основания для ЛЭП на железнодорожных участках в силу своей нестандартной формы (звездоподобный трехлучевой поперечный срез) обладают исключительной устойчивостью. Это вместе с высоким качеством материалов, применяемых для изготовления, делает данные строительные элементы одними из самых надежных вариантов проведения электрификации железнодорожных участков как с постоянным, так и с переменным током. Основные положения по проектированию, выпуску и применению фундаментов ТСС содержатся в нормативном документе Рабочие чертежи 4182и.
1. Варианты маркировки
Официально утвержденная маркировка должна применяться в ее первоначальном виде и в технической документации, и в спецификациях на железобетонные материалы, и при маркировании самой продукции. Актуальные способы написания маркировки трехлучевых фундаментов представлены такими вариантами:
1. ТСС 5,0-2;
2. ТСС 5,0-3;
3. ТСС 5,0-4.
2. Основная сфера применения
Раздельные опоры контактной сети вдоль железной дороги должны быть максимально надежными и безопасными, а с трехлучевыми установками ТСС 5,0-2 им не страшны ни сильные порывы ветра, ни осадки, ни волнения почвы (стойки к сейсмичности до 9 баллов включительно). Повышенная прочность бетона, отменные показатели стойкости к сильным морозам (вплоть до -40, -55 градусов), влажности и щелочности делают применение фундаментов данного типа актуальным практически во всех климатических районах нашей страны. В конструкции стаканных трехлучевых фундаментов ТСС 5,0-2 помимо вышеупомянутых технических особенностей предусмотрено также заострение нижней части, вводящейся непосредственно в грунт. Такая форма способствует минимизации сопротивления грунта, что существенно упрощает процесс вибропогружения.
3. Обозначения маркировки изделия
Маркировка типовых железобетонных изделий, запроектированных Рабочими чертежами 4182и, представлена несколькими группами условных обозначений. Подобный шифр содержит информацию о типе изделия и его ключевых конструкционных особенностях. Так марка ТСС 5,0-2 указывает на следующее:
1. ТСС – трехлучевой фундамент со скосом стаканный;
2. 5,0 – длина в м.;
3. 2 – порядковый номер по несущей способности.
ЖБ изделие, которому присвоена данная марка, по стандарту обладают такими габаритными показателями:
Длина = 5000;
Ширина = 670;
Высота = 670;
Дополнительно следует учитывать и следующие характеристики данной марки:
Вес = 2050;
Объем бетона = 0,82;
Геометрический объем = 2,2445.
На готовой продукции марка проставляется по специальным шаблонам с использованием черной стойкой к стиранию краски.
4. Изготовление и основные характеристики
При изготовлении железобетонных трехлучевых стаканных фундаментов со скосами требования Рабочих чертежей 4182и и основных стандартов по выпуску унифицированных строительных материалов должны выполняться беспрекословно. Производственный процесс, начиная от фиксации элементов армирования в проектном положении, формовки и сушки, заканчивая приемо-сдаточными испытаниями, должен проходить в условиях полностью оборудованного завода ЖБК с применением специальных металлических форм.
В качестве основного составляющего элемента для изготовления служит тяжелый сорт бетона повышенной прочности класса В30. В зависимости от расчетной температуры воздуха в районе будущей эксплуатации марка бетона по морозостойкости варьируется от F150 до F200. При этом показатель водонепроницаемости всегда остается неизменным – марка W6.
Что касается армирования, то тут в ход идет рабочая арматура периодического профиля (класс А-ІІІ), из которой сооружают надежные каркасы сварного типа. Заказчику могут поставляться исключительно материалы, обладающие необходимым уровнем отпускной прочности (75% от проектной марки) при гарантии достижения проектного уровня в месячный срок. Приемочный контроль делится на сплошной и выборочный. Первый тип включает проверку поверхности каждого изделия на отсутствие в защитном слое изъянов и дефектов, второй тип – это контроль геометрических размеров, прочности и трещиностойкости.
5. Транспортировка и хранение
При транспортировке и складировании фундаментов ТСС 5,0-2 основное внимание уделяется сохранности бетонной поверхности и анкерных болтов от любых повреждений механического характера. Принимаемые с этой целью защитные мероприятия включают организацию подготовленной крытой площадки с выровненной песчано-щебенчатой основой, применение инвентарных материалов для изолирования изделий друг от друга, тщательную фиксацию каждого отдельного элемента в кузове грузового транспорта. Для подъема трехлучевых фундаментов на высоту задействуется специальное оборудование, равномерно распределяющее вес конструкций.
Фундаменты ТСС 5,0-2 отзывы


