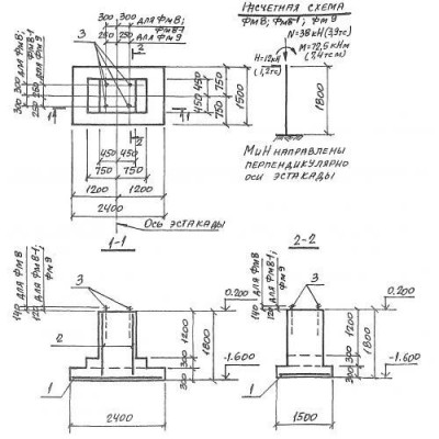
Размеры:
- Длинна: 2400 мм.
- Ширина: 1500 мм.
- Высота: 1800 мм.
- Вес: 6250 кг.
- ГОСТ, Серия: Серия 3.016.2-12 скачать
- Объем бетона: 2,5 м3
- Геометрический объем: 6,48 м3
- Цена: договорная
Стандарт изготовления изделия: Серия 3.016.2-12
Фундаменты ФМ 9 (3.016.2-12) являются унифицированными строительными материалами. Визуально конструкция представлена в виде двух составных элементов: плиты основания и прямоугольного блока, расположенного над плитой. Дополнительным отличием элемента является наличие в верхней части анкерных болтов, предназначенных для крепления смежных конструкций. В Серии 3.016.2-12 также запроектированы фундаменты с отверстием в центральной части блока. Дополнительно некоторые изделия могут иметь многоступенчатую форму, то есть на плите основания по центру присутствует еще одна с меньшими габаритными размерами.
Применяются унифицированные фундаменты при строительстве металлических проходных и непроходных кабельных эстакад. Изделия являются надежной опорой для размещаемых над ними конструкций. Благодаря наличию анкерных креплений металлические составляющие крепко фиксируются, также исключается их соприкосновение с грунтом и предотвращается раннее развитие коррозионных образований. При разработке строительных элементов учитывались требования и рекомендации действующих нормативно правовых документов.
Маркировочные обозначения
Нанесение знаков на поверхность строительных материалов играет важную роль, так как символы позволяют отразить ключевые характеристики и в значительной степени упростить подбор нужных элементов. Совокупность обозначений ФМ 9 (3.016.2-12) имеет следующую расшифровку:
1. ФМ - тип конструкции - фундамент монолитный;
2. 9 - порядковый номер типоразмера изделия.
Не допускается произвольно корректировать маркировочные знаки. Дополнительно может быть прописана дата производства, масса и штамп отдела технического контроля.
Особенности производства
Изготовление фундаментов ФМ 9 (3.016.2-12) регламентировано Серией 3.016.2-12. Нормативный документ содержит подробное описание процесса производства, требования к материалам и расчеты несущей способности конструкций с рекомендациями по подбору для нужд различных типовых проектов. Главным сырьем для изготовления изделий выступает тяжелый бетон, имеющий класс В15 и отвечающий всем требованиям ГОСТ 26633-85. Величину фактической прочности бетона необходимо сверять по ГОСТ 18105-86 с учетом однородности смеси. Физико-химические показатели, такие как водонепроницаемость и морозостойкость, должны подбираться в каждом отдельном случае индивидуально с учетом особенностей климата в регионе строительства. Качество входящих в состав бетонной смеси материалов необходимо сверять: для цемента по ГОСТ 10178-85, для заполнителя по ГОСТ 10268-80, для воды по ГОСТ 28732-79.
Арматурные сетки и каркасы в составе конструкций производятся из горячекатаной стали класса AIII по ГОСТ 5781-82. Качество готовых сеток рекомендуется проверять по ГОСТ 10922-90. Соединение в местах пересечения должно осуществляться контактной точечной сваркой. Величина защитного слоя до арматуры должна составлять минимум 35 мм.
Для крепления металлических конструкций к фундаменту используются специальные болты из стали марки СТ3пс, соответствующие ГОСТ 24378.1-80. Обязательна обработка металлических составляющих противокоррозионными составами, продлевающими общий эксплуатационный срок сооружения.
Транспортировка и хранение
Складирование и транспортировку унифицированных монолитных фундаментов ФМ 9 (3.016.2-12) необходимо осуществлять с безукоризненным соблюдением правил и норм по технике безопасности, а также с учетом предписаний Серии 3.016.2-12.
Фундаменты ФМ 9 (3.016.2-12) отзывы


